Page 66 - The Secret War in the Italian front in WWI (1915-1918)
P. 66

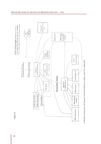
THE SECRET WAR ON THE ITALIAN FRONT IN WWI (1915 – 1918)
























































































                64                                                                                   3.9 Relations among units of the Supreme Command mobilized according to April 1915 organization
   61   62   63   64   65   66   67   68   69   70   71